Abbildung ähnlich
Bartels

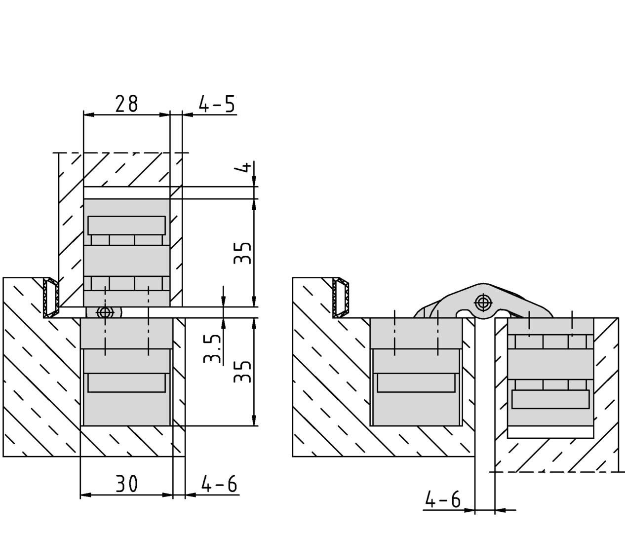
Türband PIVOTA ® DXA 200 3-D "Alu" velour vernickelt

10816997
auf Anfrage
je 1 Stück
Preis und Verfügbarkeiten nach Anmeldung

Folgeartikel

Dieser wird automatisch Ihrem Warenkorb hinzugefügt.

Verkaufsdaten

Mindestbestellmenge 1 Stück
Bestellschritt 1 Stück

Beschreibung

Türband PIVOTA ® DXA 200 3-D "Alu" velour vernickelt

Verdeckt liegendes Türband für stumpf einschlagende Türen. Wartungsfrei, 3-D justierbar, 180kg/Paar (normale Tragfähigkeit)