Abbildung ähnlich
Geberit

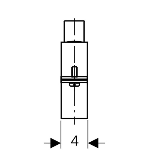
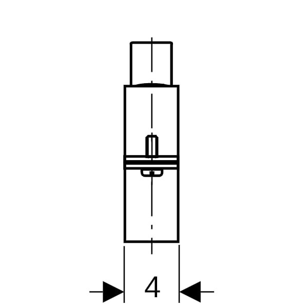
Geberit Rohrschelle DN 200, Breite 4 cm, Länge 15,8 cm, mit Gewindemuffe G 1 1/4

5983626 370841001
auf Anfrage
je 1 STCK
Preis und Verfügbarkeiten nach Anmeldung

Folgeartikel

Dieser wird automatisch Ihrem Warenkorb hinzugefügt.

Verkaufsdaten

Mindestbestellmenge 1 STCK
Bestellschritt 1 STCK

Beschreibung

zum Befestigen mit Gewinderohren, Leitungen an Decken und an Wänden, zur Gleitbefestigung von Rohren in Verbindung mit Einlegebändern, zur Fixpunktbefestigung von Rohren in Kombination mit Doppelbundbüchsen, verzinkt

Merkmale

Produktklasse Rohrclip
Internet Link https://catalog.geberit.de/de-DE/370.841.00.1.html
Werkstoff Stahl
Oberflächenschutz galvanisch/elektrolytisch verzinkt
Befestigungsart Gewindebolzen
Mit Einlage nein
Geeignet für Rohrdurchmesser 200 mm
Anzahl der Kabel/Rohre 1